卷轴屏iPhone要来了?苹果再次申请卷轴屏技术专利
近日,外媒注意到苹果提交了一项名为“具有柔性显示结构的电子设备”的专利申请,这项新专利揭示了苹果在卷轴屏技术上的持续探索。


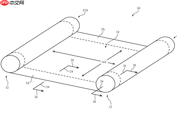
据国外媒体报道,这项专利所描述的技术不同于三星Z Flip系列或谷歌Fold系列所采用的铰链折叠方式。苹果选择通过一种卷轴机制来实现柔性屏幕的扩展与收纳,使屏幕像画卷一样可以展开和收回。
CNMO了解到,卷轴屏并非苹果最近才提出的构想,这已是苹果第六次提交此类概念的专利申请,最早可追溯至2017年。多年来,苹果不断对该技术进行改进,重点解决包括耐用性、紧凑性以及显示硬度在内的多项工程难题。

根据专利内容,苹果设想将一块屏幕固定在坚硬外壳中,并通过滚筒装置向外延伸。这种设计与传统卷轴类似,但依靠“展开滚筒”和“拉伸双稳态支撑构件”,使得屏幕在拉出的不同阶段都能保持紧绷并具备可用性。此外,该卷轴式设计不仅可用于智能手机和平板电脑,还可拓展到眼镜、吊坠甚至智能手表等设备上,这也与三星和摩托罗拉等厂商提出的可卷曲设备理念相契合。
有分析指出,随着柔性OLED显示屏技术的不断发展,结合苹果持续优化的卷轴结构,未来或将应用于计划在2026年甚至更晚推出的可折叠iPhone。不过目前这仍仅是一项专利,而苹果手中还有大量从未投入实际应用的专利方案。然而,多次对卷轴屏设计进行更新也表明苹果并未放弃这一方向,或许只是在等待最佳时机将其变为现实。
网友留言(0 条)