苹果新铰链设计专利公示,让折叠 iPhone / iPad 更灵活、更耐用
感谢网友“华南吴彦祖”提供的线索!近日,苹果公司公布了一项全新折叠屏铰链设计专利,预示着其在折叠屏技术领域的持续探索。这项专利巧妙地运用指状结构和月牙形槽设计,有望实现更灵活、更耐用的折叠效果。

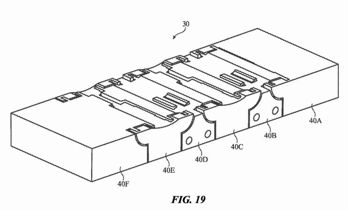
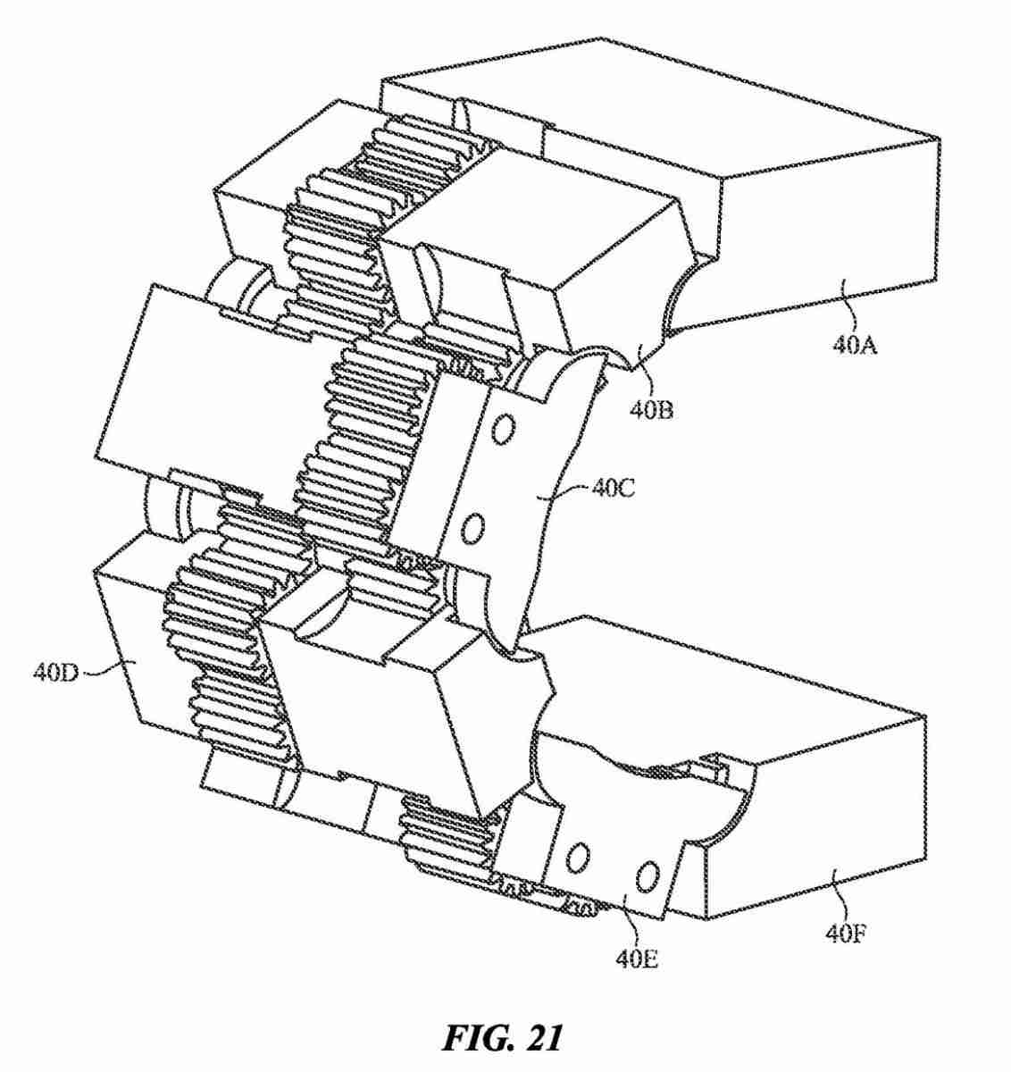
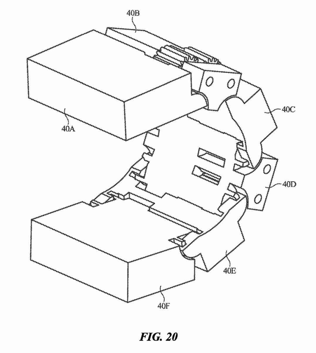
专利文件显示,该铰链结构由相互连接的指状部件和摩擦离合器组成,形成独特的月牙形槽。这种设计允许铰链各部分相对旋转,并将旋转轴移至部件外部,从而提升折叠灵活性。
月牙形槽的设计能够引导销钉在折叠过程中平稳滑动,确保相邻部件围绕位于铰链外部的旋转轴精确旋转。
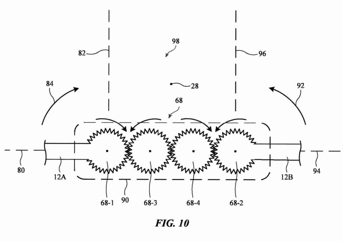
此外,专利中还包含一种壳体旋转同步机构,利用齿轮系统连接设备外壳,以保证折叠过程的平顺稳定。 这项专利技术的应用范围广泛,涵盖手机、平板电脑、笔记本电脑甚至手表等可穿戴设备,这意味着未来我们或许能在iPhone、iPad、Mac甚至Apple Watch上看到这项技术的应用。


网友留言(0 条)