折叠屏iPhone重磅新料!无折痕设计专利实锤,发布时间线明朗
随着三星、谷歌等厂商的折叠屏智能手机已面世多年,业界始终密切关注苹果何时会正式入局这一赛道。据cnet于2025年11月发布的一份深度汇总报道显示,尽管苹果至今未就折叠屏iphone作出任何官方表态,但多项权威分析师研判及公开专利信息均指向一个信号:这款备受期待的产品或已进入研发尾声,上市时间正逐步明晰。


图片来源:CNET
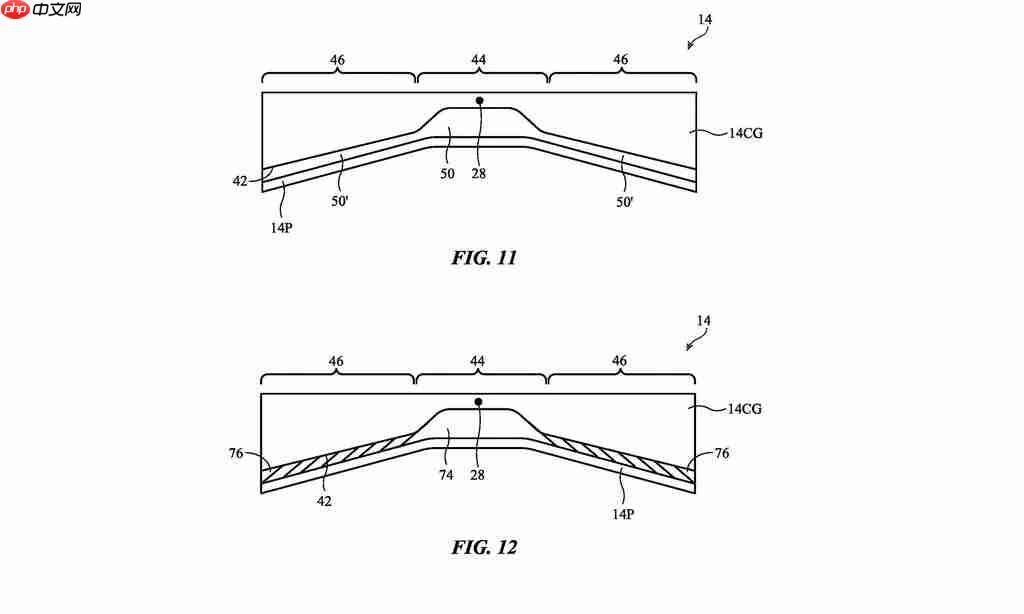
报道援引的关键依据之一,是苹果于2024年7月16日成功获批的一项核心技术专利。该专利名称为“电子设备与耐用折叠显示屏”,最早可追溯至2021年11月的申请日期。文件中详细阐述了一种创新铰链机制——当设备意外跌落时,屏幕能沿预设弯曲轴实现微幅动态折叠,使机身边缘优先触地,从而有效规避内屏直接受力,大幅提升抗冲击能力。这无疑印证了苹果在折叠屏底层技术领域已深耕多年。

图片来源:美国专利商标局
就产品形态而言,当前主流猜测聚焦于两种方案:
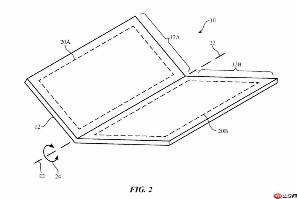
书本式折叠设计:知名产业链分析师郭明錤(Ming-Chi Kuo)指出,该机型或将采用一块7.8英寸无折痕主屏搭配一块5.5英寸外屏。整机折叠状态下厚度约9–9.5毫米,展开后则收窄至4.5–4.8毫米。影像系统方面,预计配备前置摄像头及双摄后置模组。

图片来源:美国专利商标局
翻盖式折叠方案:另有消息源透露,苹果或优先推进类似三星Galaxy Z Flip的上下翻折机型,目标是打造一款厚度仅为当前iPhone一半的轻薄终端。为兼顾空间压缩与结构强度,郭明錤推测该设备或将放弃Face ID,转而将Touch ID传感器集成于电源键等侧边物理按键中,实现生物识别功能。

图片来源:CNET
价格定位方面,郭明錤预估折叠屏iPhone起售价将在2000至2500美元区间,与目前高端折叠屏竞品基本一致。首年出货量有望达到300万至500万台。至于发布时间,业内观点尚未统一:郭明錤曾表示苹果最快可能于2026年底推出具备无折痕特性的首款折叠屏iPhone;而市场研究机构TrendForce则持更审慎态度,认为受限于苹果对可靠性与视觉一致性近乎严苛的标准,实际量产节奏或延至2027年。回顾过往,关于该机型的发布时间预测已从2023年多次延后,因此最终落地窗口仍具变数。

图片来源:苹果官网
此外,报道还提及苹果同步推进折叠屏iPad的研发进程。据称该设备将搭载约8英寸显示屏,尺寸接近现有iPad Mini。由于无需频繁放入口袋或承受高频弯折压力,其在结构耐久性与厚度控制方面的工程约束相对宽松,有望成为苹果折叠生态的另一重要支点。

图片来源:CNET
综上所述,尽管折叠屏iPhone仍未获得苹果官方背书,但持续密集的专利布局与多方信源交叉验证,已清晰勾勒出其产品化进程的轮廓。消费者距离真正见到这款融合苹果设计哲学与前沿折叠技术的设备,或许已不再遥远。
编辑点评:折叠屏iPhone的传闻始终停留在行业观察层面,恰恰折射出苹果对技术成熟度与用户体验的极致坚守。倘若其真能攻克无折痕难题,或将重塑整个折叠交互范式。但所有答案,终须等待苹果亲自揭晓。
<< 上一篇
网友留言(0 条)